移动
- 通常购买服务器时,大部分移动用户所能接触到的移动出口网络为AS9808/AS9314(铁通已被移动收购)(暂未听说有精品网的说法)
- 回国与出国主要会经过 香港(PCCW)-广州 回国
- 出口宽带目前基本为AS9808线路
- 网络分为 双向/单向/混合线路(BGP)
- 未知晓高峰期会有策略性丢包减少对骨干网的负载
- 出口宽带总量第三
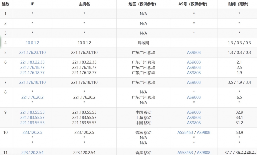
移动路由图示图(资料来源:https://bgp.he.net/AS9808)
IPV4

IPV6

移动网络(AS9808,又名PCCW)
- AS9808,顾名思义,其通常会经过AS号为9808的路由节点(221.176.*.*/221.183.*.*),如果你在 ipip.net 中进行测试,通常会得到以下结果(注意,结果并不绝对)
- 省级-出国-国际骨干节点是多以 221.176.*.*/221.183.*.*开头的9808路由节点,在部分地区会混入铁通AS9314/电信AS4134/联通AS4837的路由节点
- 在出国线路上表现为非高峰期轻度负载,堵塞程度较低,速度快,丢包率较低(<1%,不同地域不同服务商情况不同,仅作参考)。在下午6点至夜间11点之间的高峰期表现为负载适中,速度较快,丢包率较低(<3%,不同地域不同服务商情况不同,仅作参考)。
- 无法比较所经过的路由节点数量

由于各省互联宽带的不同,仅讨论出口宽带处的情况
如何判断线路类型
可通过如上所经过的AS号进行判断,并非你所使用的运营商会完全决定你的出口线路,有时通过定制路由,例如你使用的是电信网络,你的去程走的是电信的网络,但是你的回程是PCCW网络,混合型网络有时可以获得与精品网络相似的速度,也能降低成本
其他运营商
暂不介绍其他运营商,使用人数过少,且限制较多,基本没有出口宽带,无法进行测试
精品网的网络质量一定比普通网络好吗?
精品网的网络质量不一定就比普通网络好,因为精品网每Mbps售价往往更贵,如果IDC服务商为了增加利润进行超售,例如1台母服务器接入了1G的精品网络宽带,但是因为更高的硬件成本,IDC进行了超售,本来只能卖128个的VPS,但是超卖出了256个VPS,如果你正好买了,那就是你和你的255个邻居争抢这1G的宽带,你的使用体验可想而知。
原创文章,作者:全球主机资源网,如若转载,请注明出处:https://eisteist.com/483.html